当前位置:部门 > 区水利局 > 政务公开 > 政府信息公开目录 > 基层政务公开 > 水利领域 > 监督管理 > “双随机、一公开”监管
  • [ 索号 ]
  • 1150022600934132X0/2025-00175
  • [ 发文字号 ]
  • 荣水利发〔2025〕24号
  • [ 主题分类 ]
  • 水利、水务
  • [ 体裁分类 ]
  • 其他
  • [ 成文日期 ]
  • 2025-10-11
  • [ 发布日期 ]
  • 2025-10-11
  • [ 发布机构 ]
  • 荣昌区水利局
  • [ 有性 ]
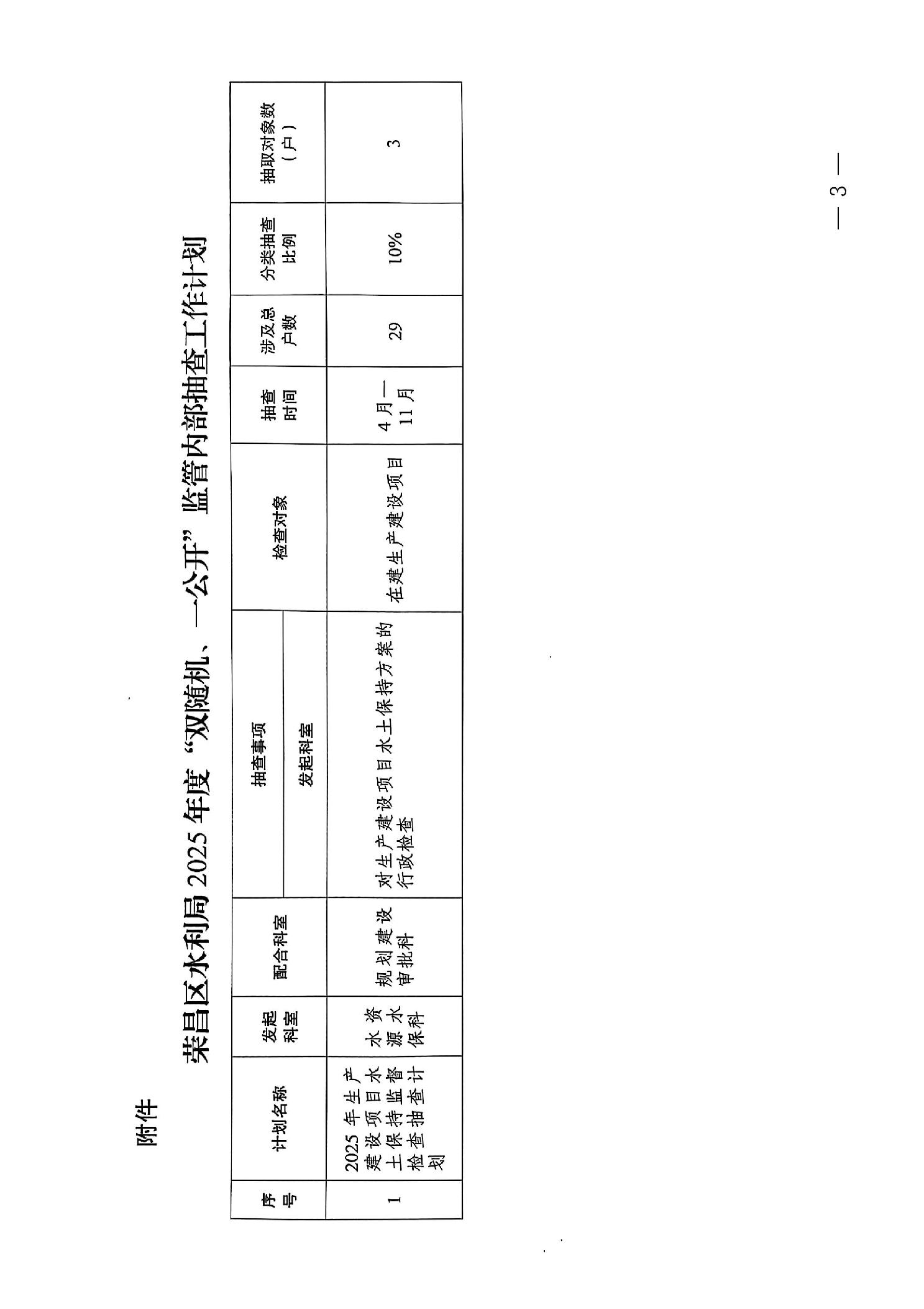
重庆市荣昌区水利局关于印发《重庆市荣昌区水利局2025年“双随机、一公开”监管内部抽查工作计划》的通知(荣水利发〔2025〕24号)
日期:2025-10-11
字体:【 默认 超大
分享:

版权所有:重庆市荣昌区人民政府

主办单位:重庆市荣昌区人民政府办公室

承办单位:重庆市荣昌区数字化城市运行和治理中心

微信公众号

政务微博

ICP备案:渝ICP备2021006398号-1 网站标识码:5002260001 渝公网安备:50022602000107号
提示 智能机器人形象
智能机器人形象
智能问答 政务服务 政策解读 政策问答 便民地图